DCJY-80S绝缘油介电强度测试仪 使用说明书
第一章:概述
DCJY-80S绝缘油介电强度测试仪是根据国家标准GB/T507-2002及DL/T846.7-2004研制而成,本仪器选用单片机为主导,预先设定测试的方法,全部过程由微机自动运行控制,操作简易,使用方便。
第二章:用途与特点
本仪器适合测试各种绝缘油介电强度,其主要特点如下:
1. 本仪器设有自动检测功能,如开机自动进入复位状态执行调
压器回零。
2. 采用了微型面板式打印机,自动打印输出。
3.根据用户需求可改变测试次数、搅拌静置时间、声控光控提醒连续打印与非打印。
4. 本仪器采用全自动磁振子搅拌,消除油样的不均匀和气泡。
5.采用了微型TPU-A面板式打印机,自动汉化打印输出。
第三章:技术规格
1.工作电源:AC220V ±10%、50HZ ±5%
2.测量范围:AC0~80KV
3.限定电流:5mA
4.测量精度:3%
5.调压速度:2KV/S±10%
6.预定设置:次数1~9
搅拌时间:0~1分39秒
静置时间:0~10分39秒
7.使用条件:环境温度0℃~35℃;相对湿度≤75%
8.油杯间隙:2.5mm(油杯塞尺直径)
9.体积: 415×315×315mmP3
10. 重量:28kg
第四章:面板说明

图一面板示意图
面板功能介绍:

第五章:操作步骤
1. 输入电源
连接安全接地,插入220V交流电源,检测电源正确无误。
2. 提取油样
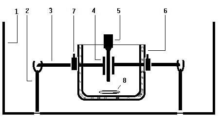
逆时针旋下油杯轴杆一端的塞尺棒,此塞尺棒为直径2.5mm的标准杆,将油杯两电极间距调整到2.5mm,将另一端电极调整在偏中位置,将锁住此轴杆螺钉旋紧,取塞尺棒于两电极间靠紧两电极,锁住螺钉取出塞尺,顺时针旋于原轴杆内,如图二。
将油杯处理干净,置干净的磁振子于油杯内,注满准备好的油样,取下高压罩置油杯于高压舱两高压柱间,平稳放置盖上高压罩压好安全开关。

图二高压舱内布置图
(1)高压舱(2)高压柱
(3)轴杆(4)电极
(5)塞尺 (6)油杯
(7)轴杆固定螺丝 (8)磁振子
3. 预定设置
设定值共有6位预选盘如图三:

图三设置盘
①表示次数设定,按“+”“-”号可从1-9 位数选取您所需测试的次数。
②③表示搅拌时间设定,②表示十位③表示个位,1分39秒表示数为99即60秒+39秒。
④⑤⑥表示静置时间设定,④表示“分”个位⑤表示“秒”十位⑥表示“秒”的个位,10分39秒表示数为999 即9分+60秒+39秒。
4. 功能键操作
功能键共有6个,属点动键,按一下便可回应工作。如图四:

图四功能键
1)待测试时按“测值”键,搅拌、静置、升压、打印各功能会按定的数值顺序而行。
2)在升压过程中按“停止”键,就会停止升压,数码显示上的数值就是此时高压端的输出的高压值。
3)第一次升压油样击穿后,声控提醒连续“嘀”一短声20秒,第二次后“嘀”二短声,第六次“嘀”,一长声一短声,第七次“嘀”一长声二短声,待平均值显示完后“嘀”不间断响20秒,如果不用声控提醒,按一下声控键就进入光控提醒,光控指示灯亮,闪亮次数同“嘀”响声次数一样,再按声控键无效,保持光控不变,需再次打开电源时声控有效。
4)测试完后,如想再查看数据时,按“显示”“打印”键,此两键属重复使用键,按“显示”键一次显示一次测试值,直到显示平均值,重复显示完毕。按“打印”键时,重复打印电压值时间不在打印。
5)当按动“复位”键时,显示为 OCPU 英文字样表示为复位到位后初始等待状态,简称初态或OCPU状态,与在测试升压过程中按“复位”键,将不进入初态,同油样击穿时的情况一样,继续运行不改变原运行状态,如连续再按“复位”键此时确认为“复位”转而进入初态。
5. 开机等待
置电源开关于“ON”,本机进入自检状态,打印机回应指示灯亮,显示屏显示OCPU字样,如调压器不在零位,显示DIJJ字样此表示复位过程,下降指示灯亮,下降到零位后显示为OCPU初始等待态。
6. 测值
点动“测值”键,开始按照预先设定的数值运行;搅拌指示灯亮磁振子快速旋转,显示屏第一位数码显示第一次次数,后三位显示搅拌时间;搅拌完毕,振子停止搅拌指示灯灭,静置指示灯亮开始静置,指示灯灭后,合闸、升压指示灯亮,进入显示同步升压,此时显示屏后三位数码显示为电压(00.0KV)待油样击穿后,升压电源自动分闸,显示屏停止显示5秒,打印机打印时间、电压值;调压器下,降下降指示灯亮,搅拌指示灯亮第二次测试开始,同时打印、显示屏显示击穿电压,显示次数值闪烁,声控提醒;调压器回零后,下降指示灯灭、显示停止闪烁、声控消失,接着第二次测试;所有测试次数运行完毕后,显示屏显示总次数的平均值,用英文字母表示(A、B、C、D、E、F、G、H、y)如仅测试一次显示为A24.3KV,如测试六次显示为F24.3KV;然后打印电压平均值,油样测试完毕,此时可重复显示、打印,按复位键后,所有数据消失。
在OPCU状态下取出油样,便可更换新油样再次试验,测试完毕在复位状态下OFF位置关上电源。测试时指示灯运行过程如图五:

搅拌时间内,搅拌指示灯亮

静置时间内,静置指示灯亮

升压过程中,上升、合闸指示灯亮

油样激穿后,调压器回零,下降指示灯亮
同时下一次搅拌时间开始,搅拌指示灯亮

油样激穿后,可以选择光控,光控指示灯亮
第六章:注意事项
1.因本仪器是绝缘油介电强度专用测试设备,不可另作它用,非专业维修人员使用者不得随意开箱。
2.使用时安全接地与机箱外壳,应良好接地。
3.在升压过程中,不得随便接触本仪器,以免发生高压危险。
4.本仪器的专用油杯,不得随意作高温烘干处理。
附录一:如何取油样(供参考)
1. 盛油样的标准油杯和配套的搅拌籽必须清洗干净。
2. 洗干净的油杯和搅拌籽应该用干燥后使用。干燥时应注意温度不要太高,否则容3. 易损坏油杯的密封圈和塑料搅拌籽。
4. 将搅拌籽放入试油杯,取约1/3杯油样倒入试油杯中轻轻摇荡以清洗试油杯及搅拌籽,建议清洗2到3次。
5. 将油样倒入试油杯中,油面高度离试油杯顶部约8-12毫米。
6. 用干净的不起毛的软布或纸将试油杯外面轻轻擦拭干净。
7. 将试油杯轻轻放入试油器的高压仓。注意手要干净或带干 净的手套。
8. 油样倒入油杯后,不要放置太长的时间,特别是在空气中暴露时间过长会影响测试结果。
附录二:安装打印机的纸卷/更换色带
1.安装纸卷
将新的纸卷的前端剪成三角形。翻下打印机前盖,捏住固定机头的机头拉板两侧的弹性卡条,将机头拉出(约50px),按住打印机上的三角形按钮约1秒钟,打印机开始走纸。将纸卷的前端推入打印机进纸口,打印机将纸卷进,等到打印纸从打印机机头上方出纸口走出一段后,关断仪器的电源。稍稍用力捏住弹性纸轴的两端,将弹性纸轴上的纸卷安装到纸轴架上。将纸头穿过打印机前翻盖的出纸口,盖上前盖。
2.更换色带
打印色带经过一段时间使用后,打印的字迹会变浅或没有,这时需更换色带。
翻下打印机前盖板,捏住机头拉板两侧的弹性卡条,将机头拉板向外拉至色带盒全部露出。取下旧的色带,将新的色带装上即可。
注意:要将打印纸从色带盒和色带中间穿出来。