英制螺纹底孔怎么算
底孔的直径可查手册或岳蘖氽颐按下面的经验公式计算:
脆性材料(铸铁、青铜等):钻孔直径d0=d(螺纹外径)幻腾寂埒-1.1p(螺距)
塑性材料(钢、紫铜等):钻孔直径d0=d(螺纹外径)-p(螺距)
螺纹按其截面形状(牙型)分为三角形螺纹、矩形螺纹、梯形螺纹和锯齿形螺纹等。其中三角形螺纹主要用于联接(见螺纹联接),矩形、梯形和锯齿形螺纹主要用于传动。螺纹分布在母体外表面的叫外螺纹,在母体内表面的叫内螺纹。
在圆柱母体上形成的螺纹叫圆柱螺纹,在圆锥母体上形成的螺纹叫圆锥螺纹。螺纹按螺旋线方向分为左旋的和右旋的两种,一般用右旋螺纹。螺纹可分为单线的和多线的,联接用的多为单线;用于传动时要求进升快或效率高,采用双线或多线,但一般不超过4线。

扩展资料
螺纹五要素
1、牙型
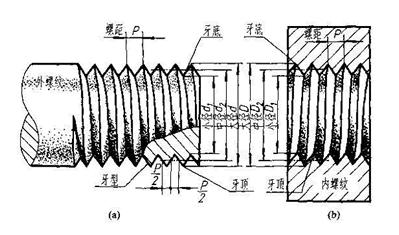
在通过螺纹轴线的剖面上,螺纹的轮廓形状称为牙型。相邻两牙侧面间的夹角称为牙型角。常用普通螺纹的牙型为三角形,牙型角为60°。
2、大径、小径和中径
大径是指和外螺纹的牙顶、内螺纹的牙底相重合的假想柱面或锥面的直径,外螺纹的大径用d表示,内螺纹的大径用D表示。小径是指和外螺纹的牙底、内螺纹的牙顶相重合的假想柱面或锥面的直径,外螺纹的小径用d1表示,内螺纹的小径用D1表示。
在大径和小径之间,设想有一柱面(或锥面),在其轴剖面内,素线上的牙宽和槽宽相等,则该假想柱面的直径称为中径,用d2(或D2)表示。
3、线数
形成螺纹的螺旋线的条数称为线数。有单线和多线螺纹之分,多线螺纹在垂直于轴线的剖面内是均匀分布的。
4、导程
相邻两牙在中径线上对应两点轴向的距离称为螺距。同一条螺旋线上,相邻两牙在中径线上对应两点轴向的距离称为导程。线数n、螺距P、导程S之间的关系为: S=n·P
5、旋向
沿轴线方向看,顺时针方向旋转的螺纹成为右旋螺纹,逆时针旋转的螺纹称为左旋螺纹。
参考资料来源:百度百科-底孔
参考资料来源:百度百科-螺纹